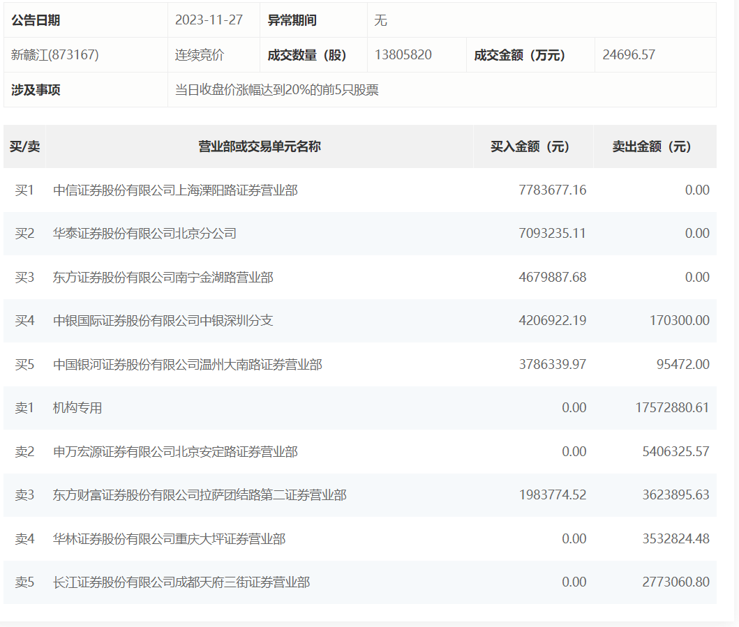
新赣江11月27日涨30%,龙虎榜数据显示,上榜营业部席位全天成交6270.86万元,占当日总成交金额比例为25.39%。其中,买入金额为2953.38万元,卖出金额为3317.48万元,合计净卖出364.09万元。
具体来看,机构合计净卖出1757.29万元。此外,知名游资现身龙虎榜,孙哥(中信证券上海溧阳路证券营业部)、华泰证券北京分公司分别买入778.37万元、709.32万元;申万宏源证券有限公司北京安定路证券营业部、东方财富证券拉萨团结路第二证券营业部分别卖出540.63万元、362.39万元。

