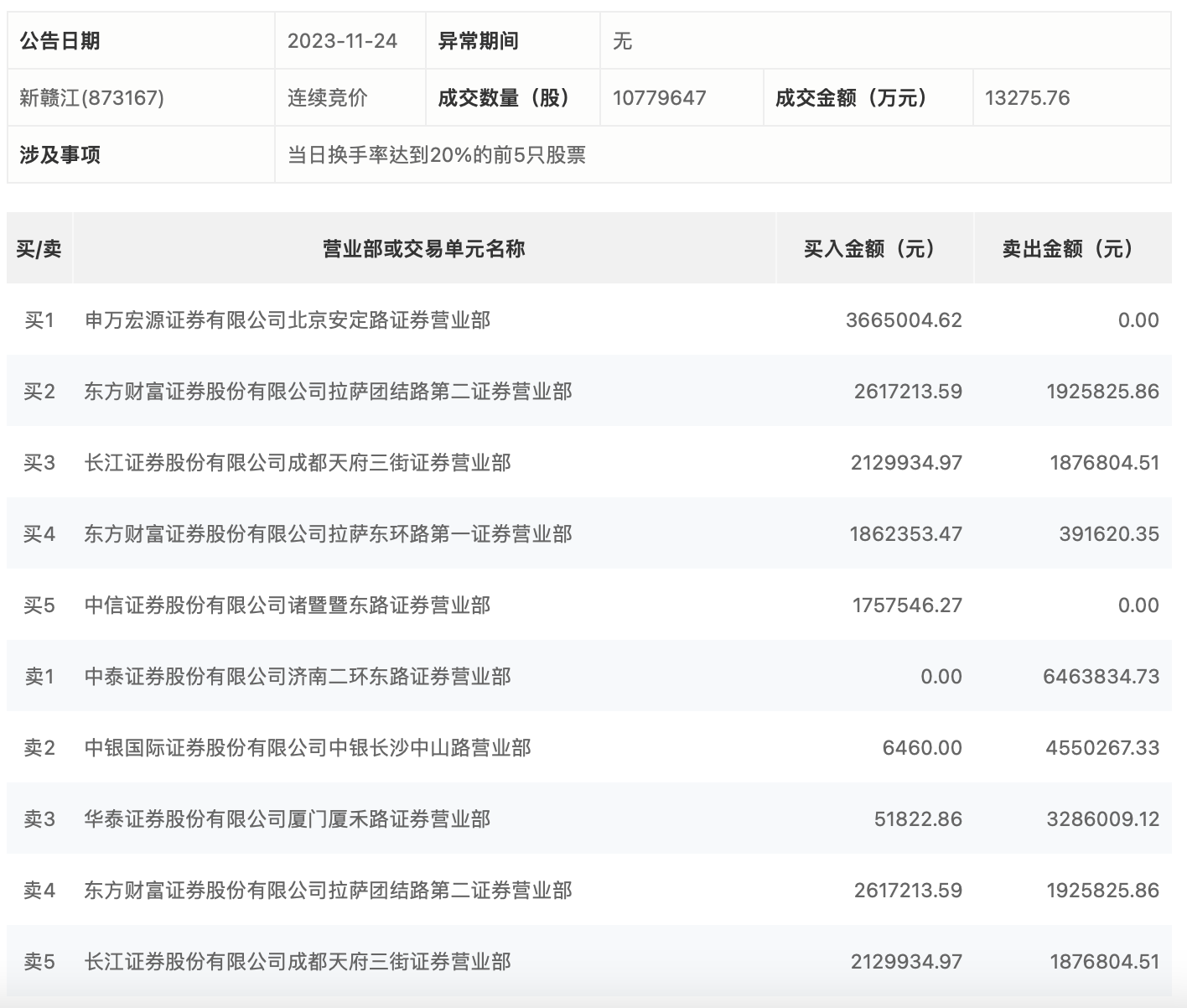
11月24日,新赣江今日涨28.46%,全天换手率达54.87%,振幅达36.57%。龙虎榜数据显示,营业部席位合计净卖出640.4万元。其中,申万宏源证券有限公司北京安定路证券营业部、东方财富证券拉萨团结路第二证券营业部分别买入366.50万元、261.72万元;中泰证券济南二环东路证券营业部、中银国际证券中银长沙中山路营业部分别卖出646.38万元、455.03万元。

11月24日,新赣江今日涨28.46%,全天换手率达54.87%,振幅达36.57%。龙虎榜数据显示,营业部席位合计净卖出640.4万元。其中,申万宏源证券有限公司北京安定路证券营业部、东方财富证券拉萨团结路第二证券营业部分别买入366.50万元、261.72万元;中泰证券济南二环东路证券营业部、中银国际证券中银长沙中山路营业部分别卖出646.38万元、455.03万元。

广告等商务合作,请点击这里
