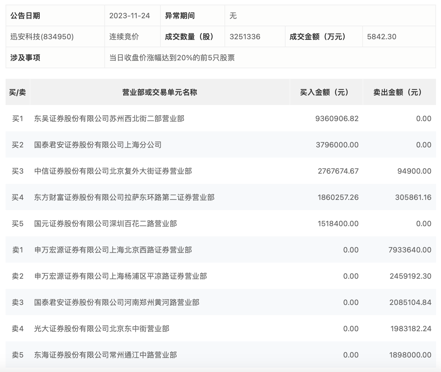
11月24日,迅安科技今日涨30%,全天换手率达27.09%,振幅达31.37%。龙虎榜数据显示,营业部席位合计净买入254.34万元。其中,东吴证券苏州西北街二部营业部、国泰君安证券上海分公司分别买入936.09万元、379.60万元;申万宏源证券有限公司上海北京西路证券营业部、申万宏源证券有限公司上海杨浦区平凉路证券营业部分别卖出793.36万元、245.92万元。

11月24日,迅安科技今日涨30%,全天换手率达27.09%,振幅达31.37%。龙虎榜数据显示,营业部席位合计净买入254.34万元。其中,东吴证券苏州西北街二部营业部、国泰君安证券上海分公司分别买入936.09万元、379.60万元;申万宏源证券有限公司上海北京西路证券营业部、申万宏源证券有限公司上海杨浦区平凉路证券营业部分别卖出793.36万元、245.92万元。

广告等商务合作,请点击这里
