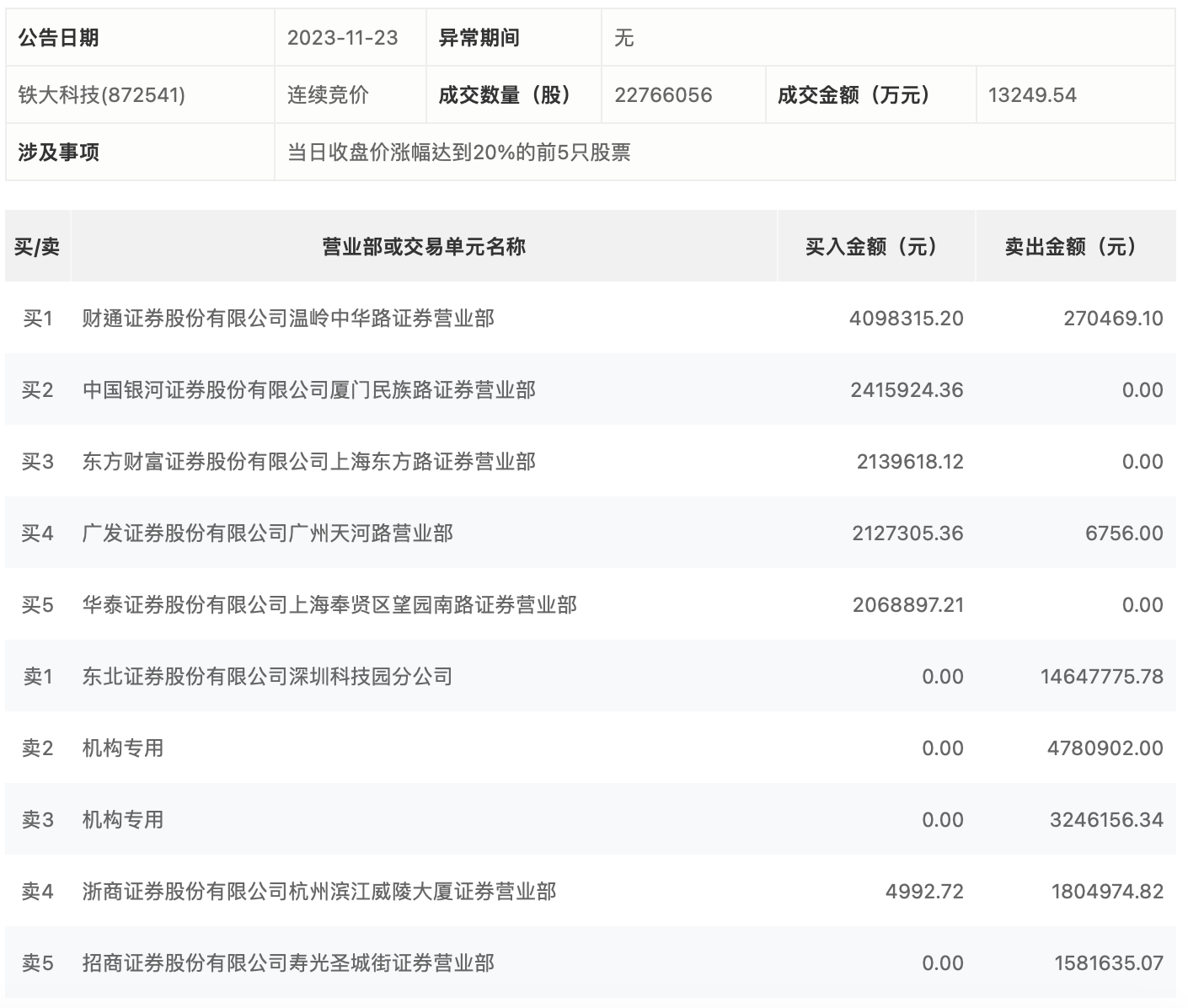
11月23日,铁大科技今日涨29.7%,全天换手率达38.25%,振幅达20.3%。龙虎榜数据显示,营业部席位合计净卖出1348.36万元。其中,机构合计净卖出802.71万元。此外,财通证券温岭中华路证券营业部、中国银河证券厦门民族路证券营业部分别买入409.83万元、241.59万元;东北证券深圳科技园分公司、浙商证券杭州滨江威陵大厦证券营业部分别卖出1464.78万元、180.50万元。

11月23日,铁大科技今日涨29.7%,全天换手率达38.25%,振幅达20.3%。龙虎榜数据显示,营业部席位合计净卖出1348.36万元。其中,机构合计净卖出802.71万元。此外,财通证券温岭中华路证券营业部、中国银河证券厦门民族路证券营业部分别买入409.83万元、241.59万元;东北证券深圳科技园分公司、浙商证券杭州滨江威陵大厦证券营业部分别卖出1464.78万元、180.50万元。

广告等商务合作,请点击这里
