界面新闻记者 |
界面新闻编辑 | 谢欣
进入秋冬季节,大部分人群距离上一轮大面积新冠感染已约有一年时间,体内抗体处于低位水平,再次接种新冠疫苗,尤其是保护老年人、有严重基础疾病的患者等高危人群不受感染,成为不少家庭关注的焦点。
从流行毒株来看,据中疾控信息,目前,全球和国内流行的新冠病毒变异株都属于奥密克戎毒株,主要流行株为XBB系列变异株。威斯克生物的XBB疫苗是国内唯一获批的含XBB变异株抗原成分的疫苗。这款疫苗也被国务院新冠感染联防联控综合组“点名推荐”,用于重点人群应对今年秋冬季的新冠疫情。
不过目前,社交媒体上不少网友都表示,“打不到威斯克XBB疫苗”“等不及XBB疫苗,打神州四价了”。
此前在7月31日发布的《近期重点人群新冠病毒疫苗接种工作方案》指出,威斯克XBB疫苗可用于近期重点人群接种,即60岁及以上老年人群或者18-59岁患有较严重基础疾病人群、免疫功能低下人群、感染高风险人群,且已完成基础免疫或已感染新冠病毒者。
此外,其他人群接种的疫苗可继续按照前期印发方案执行。在此之前,今年4月,联防联控综合组加强免疫接种方案则优先推荐了神州细胞重组新冠病毒4价S三聚体蛋白疫苗(下称“神州4价苗”),以及石药集团新冠病毒mRNA疫苗(下称“石药mRNA苗”)。

新疫苗的落地变难了
实际上,早在今年6月8日,威斯克XBB新冠疫苗就在国内获得了紧急批准,但直到11月20日,威斯克生物才在官方微信公众号宣布,其重组三价XBB新冠病毒三聚体蛋白疫苗(Sf9细胞)(即威克欣®3价XBB疫苗)正式启动全国供应。同日下午,威斯克生物市场部向界面新闻表示,该疫苗已经在全国范围内完成准入工作,第一批疫苗已经发出,这一两周内可能就可以在社区医院接种该疫苗,疫苗产能上没有问题。
也就是说,这款被推荐的XBB新冠疫苗从宣布获批到全国供应,经历了约半年的时间。相比之下,此前康希诺吸入式新冠疫苗于2022年9月4日获批紧急使用,同年10月末即可在上海接种,此后陆续在江苏、浙江、北京等地铺开。此外,前述神州4价苗、石药mRNA苗均于今年3月底获批在国内紧急使用。到5月中下旬,也已有地区可以接种这两款疫苗。总体来看,此前的几款新冠疫苗,从获批到实现供应,时间上要短了很多。
究其原因,一方面,当下更少的新冠疫苗需求或降低了疫苗的准入动力,拉长了疫苗到终端医疗机构的时间;另一方面,基层接种人员专业水平不强、存在“避险心理”等因素始终存在,可能会影响到有需求的人群接种疫苗。
国内一位疫苗行业从业者向界面新闻介绍,类似于药品进院,先完成招标挂网,后由各家医院的临床科室提出需求,医院药事会讨论药品是否入院、采购。疫苗从获批到在医疗终端接种也需要多方共同推进。
首先,省疾控或直辖市疾控会对新冠疫苗进行招标,确认中选资格,中标公司即可参与供应,之后由区县级疾控在平台上按需采购。最后,疫苗将送至各基层社区医院,大众即可预约接种。这一过程中,疫苗公司也需要向各级疾控、提供接种服务的医疗机构进行学术推广。
不过,他认为,新冠疫苗的特殊之处在于其明显的“政策导向”。一方面,新冠疫苗的接种费用由政府而非个人直接承担;另一方面,此前国家有明确的接种率考核指标,层层传导下来,能够推进疫苗的采购、接种,然后“完成任务”。
但是在目前,人们接种新冠疫苗的意愿比例明显降低,官方也未再明确接种指标要求,这都使“推进新冠疫苗接种”不如从前一般紧急,也就减少了疾控中心的招采动力。他表示,“比如企业有产品获批,只要研发生产出来了,企业肯定希望在市面上得到认可,不存在企业没热情的情况。但实际上,从招标准入这一步开始,很多省市就没什么热情了。”
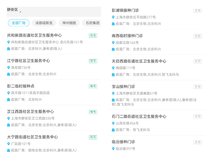
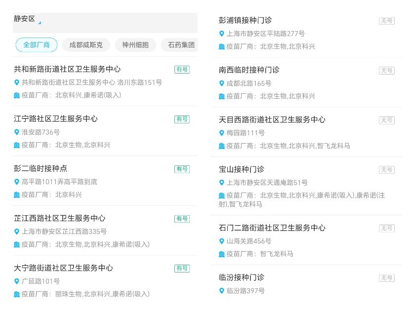
前述考量从各地、各接种点不同的备货情况也可窥见一二。11月13日、14日,界面新闻记者咨询了北京、上海等地的多家社区卫生服务中心。上海多家工作人员表示,只要“健康云”(当地疫苗接种预约平台)上可以预约的新冠疫苗,即可线下接种。
记者在“健康云”上以静安区为例搜索发现,当下接种点仅覆盖神州细胞、智飞龙科马、丽珠生物、康希诺生物(吸入/注射)、北京生物、北京科兴7款新冠疫苗产品,不到获批种类的一半,且有号可预约接种点超过三个的仅有北京科兴这一款针对原始株的灭活疫苗。另有一家卫生服务中心工作人员向记者表示,街道仅有北京科兴疫苗,其他“二代新冠苗”自己“都没有听说过(有)”。
基层认识并不统一
除了上游供应,终端接种上也可能遇到障碍。北京多个社区卫生服务中心的工作人员在接受记者咨询时表示,如果要接种新冠疫苗第四针,只有神州4价可以打,但只有未感染过的人群可以接种该疫苗。
一位重庆市民同样向记者表示,自己的母亲77岁,是肿瘤患者,同时患有糖尿病和COPD(慢性阻塞性肺疾病),之前接种了两针灭活疫苗,2022年12月防疫政策调整后感染新冠。现在,感染科医生建议母亲再接种一剂神州4价苗,但社区表示其接种和感染情况不符合再接种的条件。
实际上,上述北京和重庆工作人员的回应均符合前述《工作方案》。但问题是,个人的实际情况远比《工作方案》罗列的目标人群分类更复杂,这导致部分有再接种需求的人无法接种。
小红书上,也有一网友分享了她被拒绝同时接种新冠疫苗和流感疫苗的经历。后通过多轮沟通和签署风险告知书,该网友才得以接种。而上海一三甲医院呼吸科医生告诉界面新闻,这两款疫苗可以同时接种。
前述疫苗行业人士认为,之所以在终端有接种遇阻的情况,除了当下已经没有接种考核指标外,还因为新冠疫苗的少数接种条件在业内尤其是基层还没有更多定论和共识,部分医务人员可能有“避责心理”。
此前,复旦大学附属华山医院院感科主任杨帆曾在接受界面新闻采访时表示,他在临床工作中注意到,一些有意愿接种新冠疫苗的患者被负责接种的医务人员以年纪大、有基础病、在服用药物等理由拒绝。他指出,这些人恰恰是最需要接种的人群,这种拒绝不仅直接降低了接种率,更给公众疫苗不安全的错误信号。因此还需要加强对基层接种医务人员的培训,并强化其责任。
