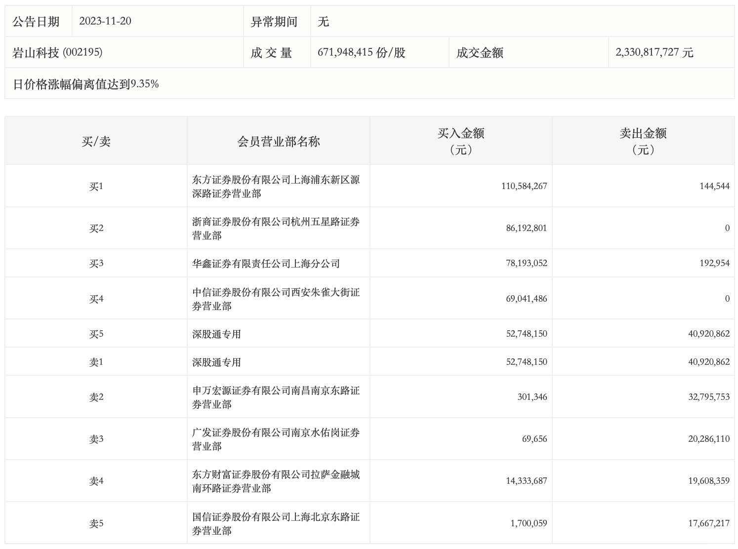
11月20日,岩山科技今日涨停,龙虎榜数据显示,上榜营业部席位全天成交5.45亿元,占当日总成交金额比例为23.37%。其中,买入金额为4.13亿元,卖出金额为1.32亿元,合计净买入2.82亿元。
具体来看,知名游资现身龙虎榜,方新侠(中信证券股份有限公司西安朱雀大街证券营业部)净买入6904.15万元。此外,东方证券上海浦东新区源深路证券营业部、浙商证券杭州五星路证券营业部分别买入1.11亿元、8619.28万元;深股通专用、申万宏源证券有限公司南昌南京东路证券营业部分别卖出4092.09万元、3279.58万元。

