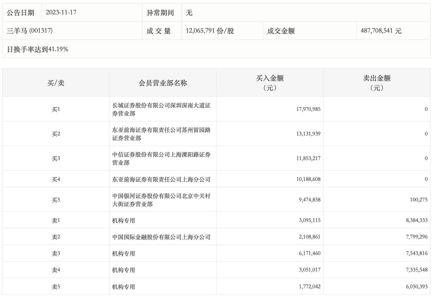
11月17日,三羊马今日涨5.39%,龙虎榜数据显示,上榜营业部席位全天成交1.16亿元,占当日总成交金额比例为23.79%。其中,买入金额为7881.81万元,卖出金额为3721.37万元,合计净买入4160.44万元。
具体来看,机构买入1408.96万元,卖出2931.41万元,合计净卖出1522.45万元。此外,知名游资现身龙虎榜,孙哥(中信证券股份有限公司上海溧阳路证券营业部)净买入1185.32万元。此外,长城证券深圳深南大道证券营业部、东亚前海证券苏州留园路证券营业部分别买入1797.10万元、1313.19万元;中国国际金融上海分公司、中国银河证券北京中关村大街证券营业部分别卖出779.93万元、10.03万元。

