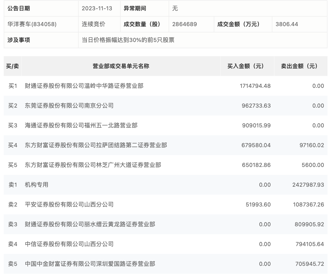
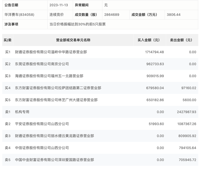
11月13日,华洋赛车今日涨21.07%,全天换手率达25.48%,振幅达31.13%。龙虎榜数据显示,营业部席位合计净卖出95.98万元。其中,机构合计净卖出242.8万元。此外,财通证券温岭中华路证券营业部、东莞证券南京分公司分别买入171.48万元、96.27万元;平安证券山西分公司、财通证券丽水缙云黄龙路证券营业部分别卖出108.74万元、80.99万元。

11月13日,华洋赛车今日涨21.07%,全天换手率达25.48%,振幅达31.13%。龙虎榜数据显示,营业部席位合计净卖出95.98万元。其中,机构合计净卖出242.8万元。此外,财通证券温岭中华路证券营业部、东莞证券南京分公司分别买入171.48万元、96.27万元;平安证券山西分公司、财通证券丽水缙云黄龙路证券营业部分别卖出108.74万元、80.99万元。

广告等商务合作,请点击这里
