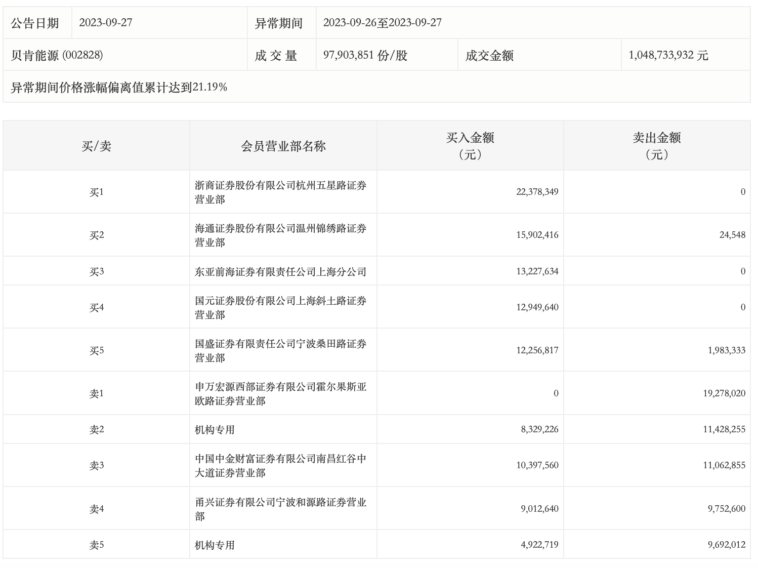
9月27日,贝肯能源今日涨停,全天换手率达24.77%,振幅达5.67%。龙虎榜数据显示,9月26日至9月27日期间,上榜营业部席位合计净买入4615.54万元。其中,机构买入1325.19万元,卖出2112.03万元,合计净卖出786.83万元。此外,浙商证券杭州五星路证券营业部、海通证券温州锦绣路证券营业部分别买入2237.83万元、1590.24万元;申万宏源西部证券有限公司霍尔果斯亚欧路证券营业部、中国中金财富证券有限公司南昌红谷中大道证券营业部分别卖出1927.80万元、1106.29万元。

