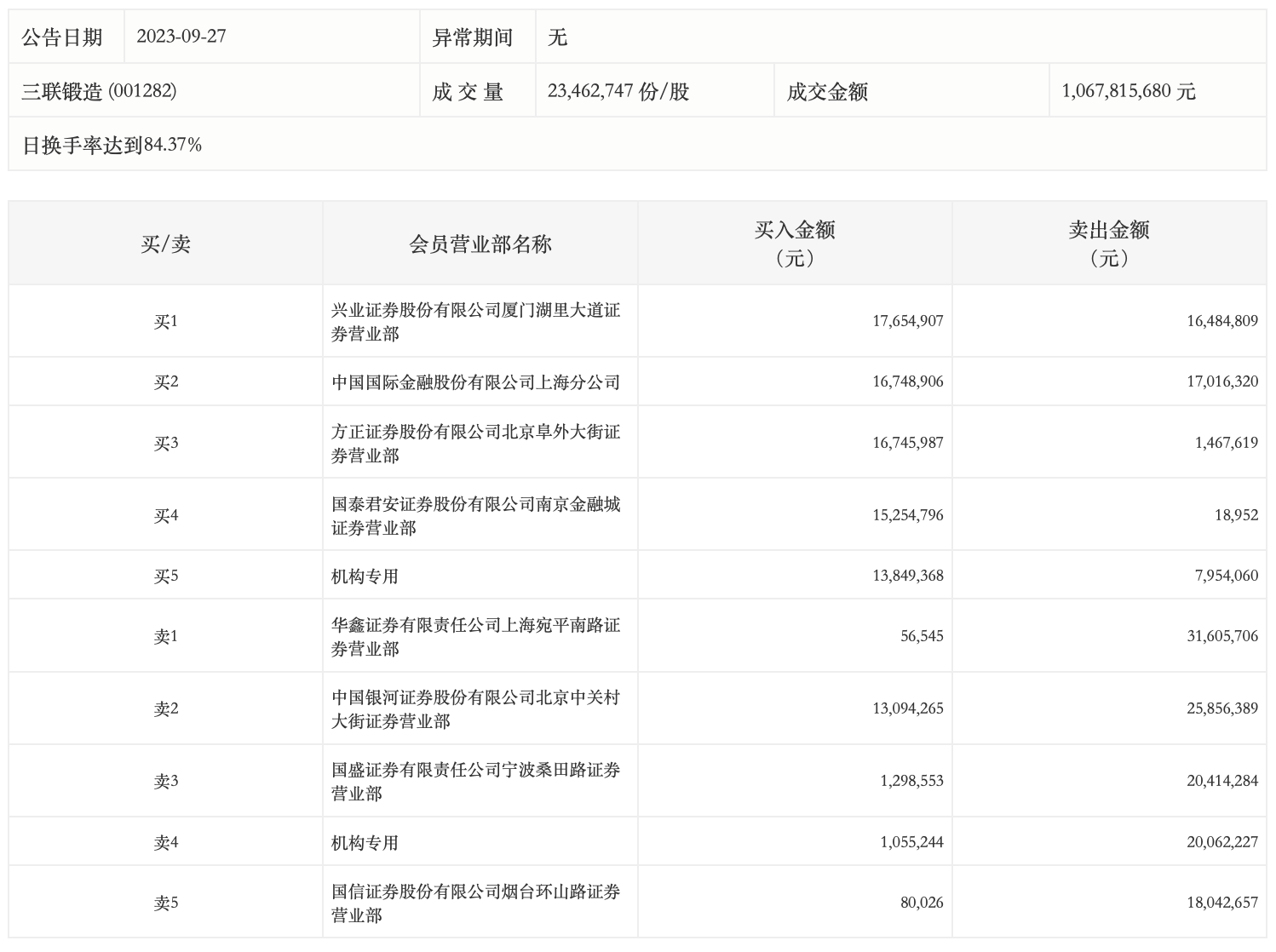
9月27日,三联锻造今日跌9.51%,全天换手率达84.37%,振幅达20%。龙虎榜数据显示,营业部席位合计净卖出6308.44万元。其中,机构买入1490.46万元,卖出2801.63万元,合计净卖出1311.17万元。此外,炒股养家(华鑫证券上海宛平南路证券营业部)、中国银河证券北京中关村大街证券营业部分别卖出3160.57万元、2585.64万元;兴业证券厦门湖里大道证券营业部、中国国际金融上海分公司分别买入1765.49万元、1674.89万元。

9月27日,三联锻造今日跌9.51%,全天换手率达84.37%,振幅达20%。龙虎榜数据显示,营业部席位合计净卖出6308.44万元。其中,机构买入1490.46万元,卖出2801.63万元,合计净卖出1311.17万元。此外,炒股养家(华鑫证券上海宛平南路证券营业部)、中国银河证券北京中关村大街证券营业部分别卖出3160.57万元、2585.64万元;兴业证券厦门湖里大道证券营业部、中国国际金融上海分公司分别买入1765.49万元、1674.89万元。

广告等商务合作,请点击这里
