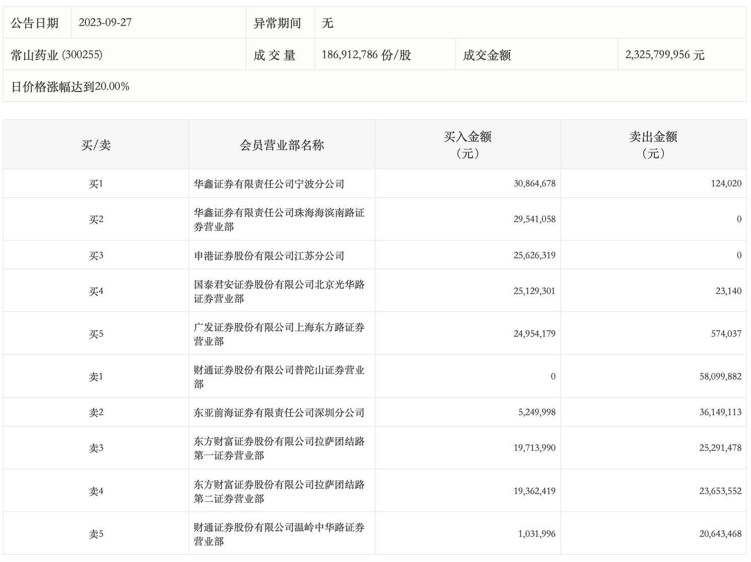
9月27日,常山药业今日涨停,全天换手率达20.06%,振幅达21.86%。龙虎榜数据显示,营业部席位合计净买入1691.52万元。其中,华鑫证券宁波分公司、华鑫证券珠海海滨南路证券营业部分别买入3086.47万元、2954.11万元;财通证券普陀山证券营业部、东亚前海证券深圳分公司分别卖出5809.99万元、3614.91万元。

9月27日,常山药业今日涨停,全天换手率达20.06%,振幅达21.86%。龙虎榜数据显示,营业部席位合计净买入1691.52万元。其中,华鑫证券宁波分公司、华鑫证券珠海海滨南路证券营业部分别买入3086.47万元、2954.11万元;财通证券普陀山证券营业部、东亚前海证券深圳分公司分别卖出5809.99万元、3614.91万元。

广告等商务合作,请点击这里
