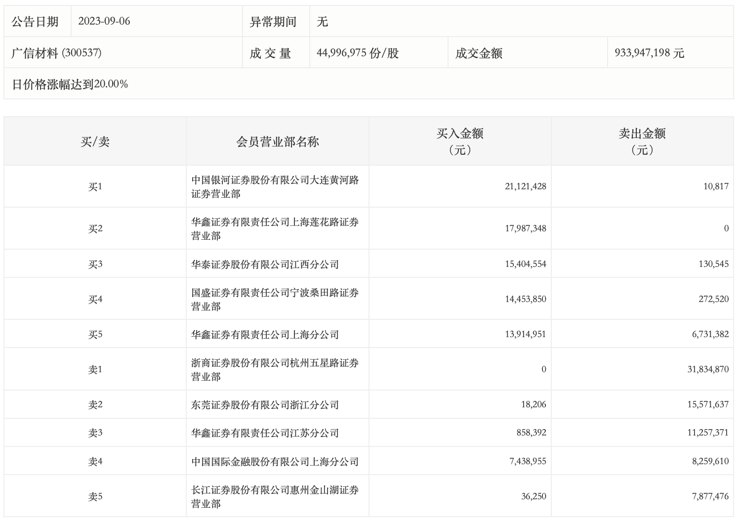
9月6日,广信材料今日涨停,龙虎榜数据显示,上榜营业部席位全天成交1.73亿元,占当日总成交金额比例为18.54%。其中,买入金额为9123.39万元,卖出金额为8194.62万元,合计净买入928.77万元。
具体来看,知名游资现身龙虎榜,宁波桑田路(国盛证券有限责任公司宁波桑田路证券营业部)净买入1418.13万元。此外,中国银河证券大连黄河路证券营业部、华鑫证券上海莲花路证券营业部分别买入2112.14万元、1798.73万元;浙商证券杭州五星路证券营业部、东莞证券浙江分公司分别卖出3183.49万元、1557.16万元。

